Case Studies
Revolutionizing Bag Handling: 85% Energy Reduction & Smart Adaptation
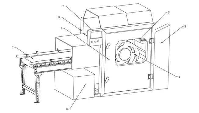
We reengineered bag handling systems with mag-drive technology and intelligent controls, achieving dramatic energy savings while enabling rapid product changeovers in hygienic environments.
The Client's Critical Requirements
Complex gear systems causing frequent failures
High energy consumption and overheating issues
Inflexible operation requiring manual adjustments
Lack of smart coordination with production lines
ACM Advantage and Solution in Action
Permanent magnet direct-drive, eliminating gears
One-hand wheel width adjustment system
Full digital control for automatic line synchronization
Modular safety-enhanced design
Delivering Measurable, Bottom-Line Results
85% lower energy consumption
95%+ operational efficiency
Quick product changeovers
24/7 stable operation
Full production line integration
"ACM's intelligent bag handler cut our energy costs by 85% while providing the flexibility we need for frequent product changes in our food processing facility."
— Operations Manager / Precision Components Manufacturer / Germany
